Sony gây sốt với bằng sáng chế AI chơi game thay người
Thiên Trang (TH)
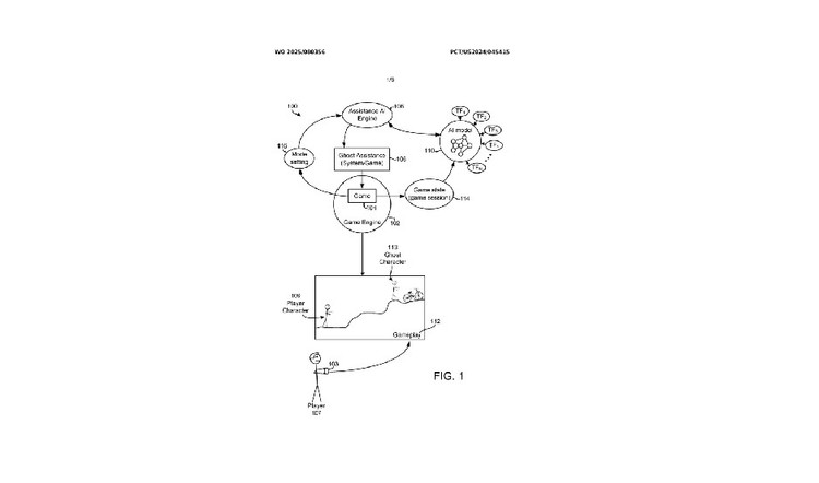
Bằng sáng chế mới hé lộ “bóng mờ” AI của Sony có thể hướng dẫn, minh họa thao tác, thậm chí chơi game thay người dùng khi gặp khó.
Một bằng sáng chế do Sony nộp từ hơn một năm trước bất ngờ được cộng đồng mạng đào lại và nhanh chóng gây chú ý.Tài liệu mô tả một “bóng mờ” AI - phiên bản ảo của nhân vật người chơi - xuất hiện trực tiếp trong game để hỗ trợ khi cần thiết.
AI này có thể minh họa thao tác, đưa ra chuỗi nút điều khiển mẫu hoặc hướng dẫn cách vượt qua các câu đố phức tạp.Trong một số tình huống, “bóng mờ” còn trò chuyện với người chơi và chỉ dẫn từng bước cần thực hiện tiếp theo.
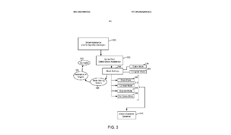
Đáng chú ý hơn, AI thậm chí có thể hoàn thành một phần nội dung game thay cho người chơi nếu được kích hoạt.Bằng sáng chế cũng đề cập đến nhiều chế độ hỗ trợ khác nhau như Story Mode, Combat Mode hay Full Game Mode.Ý tưởng này được xem là bước phát triển nâng cao của tính năng Game Help trên PS5, vốn chỉ dừng ở mức gợi ý bằng video và hình ảnh.
Trong bối cảnh AI ngày càng phổ biến trong ngành game, sáng kiến của Sony vừa mở ra tiềm năng mới vừa làm dấy lên tranh cãi về ranh giới giữa hỗ trợ và “chơi hộ”.Mời quý độc giả xem thêm video: Dọn rác AI | Hà Nội 18h00
Sự xuất hiện của chiếc SUV Mercedes-AMG G63 với cấu hình tám bánh và khoang cắm trại (camper) trên một chuyên trang mua bán ôtô cũ đã gây chú ý cộng đồng mê xe.
Theo truyền thông Iran, Tổng thống Masoud Pezeshkian tuyên bố Iran sẽ không đàm phán chừng nào Mỹ còn áp đặt lệnh phong tỏa đối với các cảng của nước này.
Tổng thống Mỹ Donald Trump và phu nhân Melania cùng nhiều quan chức cấp cao khác đã được lực lượng an ninh hộ tống đến nơi an toàn khi vụ nổ súng xảy ra.
Mẫu điện thoại Motorola Razr 2026 vừa bị rò rỉ sau khi một nhà bán lẻ trực tuyến đăng tải danh sách sản phẩm, tiết lộ gần như toàn bộ chi tiết về thiết bị này.
Brabus - hãng độ ôtô Đức vốn nổi tiếng với những “quái vật” V8 mô-men xoắn khủng bất ngờ chuyển hướng sang xe máy điện với sản phẩm mới Urban E First Edition.
Theo chia sẻ từ nhiều khách hàng đã đặt cọc trong tháng 4/2026, quyết định này không đến từ cảm tính, mà từ những giá trị đã đủ rõ ngay từ giai đoạn tìm hiểu.
Thị trường xe máy Việt Nam mở đầu năm 2026 với một cột mốc đáng chú ý khi đạt khoảng 1 triệu xe bán ra trong quí 1, cao nhất theo dữ liệu từ Motorcycles Data.